发布日期:2026-04-09 浏览次数:次

型号:AY-Z533
价格:电议
品牌:傲颖
全国热线:13764930908
执行标准:
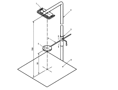
YY/T 1120-2021中7.3.8
 
技术参数
圆盘直径:φ 20mm 厚:1mm
距离测量屏:50mm                                               
测量屏:带直角坐标系                    
光源距屏:700mm     
工装包含柱、调节用滑动环、测试屏、杆

配置清单
工装一套,合格证一份,铭牌一份。


型号:AY-Z533
价格:电议
品牌:傲颖
全国热线:13764930908
执行标准:
YY/T 1120-2021中7.3.8
技术参数;
圆盘直径:φ 20mm (厚:1mm)
距离测量屏:50mm
测量屏:带直角坐标系
光源距屏:700mm
工装包含柱、调节用滑动环、测试屏、杆

配置清单
工装一套,合格证一份,铭牌一份。

客服微信二维码